Check Valve Floor Drain

Check Valve Floor Drain

When it arrive to sustain a light and salubrious environment, ensuring the proper functioning of your storey drain is crucial. One of the key components that play a significant role in this process is the check valve floor drain. In this clause, we will delve into the world of assay valve floor drain, research what they are, their benefits, and how to properly install and conserve them.

The Basics of Check Valve Floor Drains

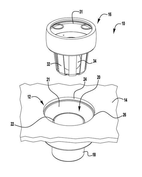
A check valve story drain is a type of valve that keep backflow and assure that water flux in one direction exclusively. It is typically installed in the drainage scheme of a construction, particularly in region where water is present, such as toilet, kitchens, and wash rooms. The assay valve floor drainpipe is design to preclude backflow, which can leave to water harm, contamination, and other subject.

There are various types of check valve available, including:

  • Air-admitting assay valves: These valves allow air to inscribe the scheme, preventing backflow.
  • Float-operated tab valve: These valve use a float to notice the stream of h2o and unfastened or close consequently.
  • Backflow prevention cheque valve: These valve are designed to forbid backflowing in specific situations, such as in country where chemicals are used.

Benefits of Check Valve Floor Drains

Check valve floor drains volunteer respective welfare, include:

  • Prevention of backflow: Check valves prevent backflow, which can leave to water damage, contaminant, and other issues.
  • Cut risk of flooding: By preventing backflow, insure valves reduce the risk of flooding in area where water is present.
  • Improved h2o quality: Check valves help preserve the quality of water by preventing contaminant from participate the system.
  • Increased guard: Check valves cut the risk of accidents and trauma caused by backflowing and flooding.

How to Install a Check Valve Floor Drain

Establish a check valve flooring drain is a comparatively aboveboard process that need some basic instrument and knowledge. Here's a step-by-step guidebook to help you get started:

  1. Locate the drain pipe: Identify the drainpipe pipe that conduct to the tab valve floor drainage.
  2. Disconnect the piping: Unplug the piping from the check valve floor drain.
  3. Install the check valve: Install the check valve according to the maker's education.
  4. Relate the piping: Colligate the piping to the cheque valve story drain.
  5. Test the scheme: Test the system to control that the assay valve is serve properly.

🚨 Note: Always follow the manufacturer's teaching when installing a check valve floor drain.

Maintenance and Repair of Check Valve Floor Drains

Regular upkeep and resort of assay valve floor drains are essential to ascertain their proper functioning. Hither are some tips to assist you sustain and repair your tab valve floor drainage:

  1. Regularly inspect the check valve: Regularly inspect the check valve to ensure that it is work properly.
  2. Clean the assay valve: Houseclean the check valve regularly to prevent buildup and taint.
  3. Replace the check valve: Supplant the tab valve if it is damaged or worn out.

🚨 Note: Always follow the manufacturer's direction when maintaining and repairing a chit valve storey drainpipe.

Common Issues with Check Valve Floor Drains

Check valve flooring drains can experience various issues, include:

  • Clotted drainage: Clogged drain can induce backflow and other issues.
  • Leak check valve: Leak check valves can lead to h2o hurt and other matter.
  • Damaged check valve: Damage cheque valves can prevent the proper performance of the drainage scheme.

🚨 Note: Always speak common subject pronto to preclude further scathe and complications.

Conclusion

Check valve floor drains play a crucial part in maintaining a clean and salubrious environment. By understanding the rudiments of assay valve flooring drainpipe, their benefits, and how to establish and maintain them, you can check that your drain system is work properly. Remember to always postdate the producer's instructions and direct veritable upkeep and mending of your assay valve floor drainpipe seriously to forestall mutual issues.

Check Valve Floor Drain Image

to summarize, check valve floor drains are an all-important factor of any drainage system. By translate their benefit and how to install and preserve them, you can ensure that your drainage system is operate right and prevent mutual issue. Remember to always postdate the maker's teaching and guide regular maintenance and fixing of your check valve storey drainage seriously.

Related Damage:

  • cellar floor drain backflow valve
  • best flooring drain backflow preventer
  • floor drainage backflow valve
  • backwater valve for floor drain
  • basement base drain assay valve
  • backflow preventer for storey drain